纯干货丨美国外观专利申请图纸,你真的懂吗?

发表时间:2024-08-29 11:41作者:乐鱼跨境
随着跨境电商的蓬勃发展,越来越多的中国企业认识到注册外观专利的重要性,根据美国专利商标局的相关指南,外观专利的图稿必须清晰展现产品的重要元素,全面披露需要保护的外观特征。

明确的图纸、线条不仅能为企业提供法律保护,还能有效防止潜在的仿冒行为,因此,了解美国外观专利图纸的制图标准对跨境卖家们来说至关重要。那么,美国外观专利对图纸的要求是什么呢?别着急,本期小编将详细为大家解析~

01
美国外观专利图纸要求

在美国,外观专利的图纸通常以黑色线条绘制在A4纸上,产品需要通过绘制对产品特征进行表达的阴影线。标准的外观专利图纸一般包括8张分别为:前立体图、后立体图、主视图、后视图、左视图、右视图、俯视图和仰视图为了更全面地保护产品,可能还会增加放大图或变换状态图。

图片


02
图纸常见的线条类型

虚线表示产品特征的形状可改变,通常不主张保护。虚线用于界定不主要的结构部分,帮助区分主要设计元素,如下图所示:

图片



结构线:表示产品的具体结构和轮廓,通常是比阴影线粗的实线,较粗的实线用来强调产品的主要轮廓和构造。

图片



阴影线:用于强调产品特征,通过阴影效果更好地展现产品的深度和细节,使图纸呈现更立体的效果,让人便于理解其产品外观。

图片



断裂线:表示与该图纸所示对象有关联但不属于保护范围的零件,通常用于指明虚拟的或可忽略的部分。

图片



标号:每个图通常会有编号(如FIG. 1, FIG. 2等),通常为FIG.+阿拉伯数字,同时表示出产品的六视图,六视图顺序为主后左右俯仰。

图片



下图将阴影线、虚线、结构线、标号都展示出:

图片



通过上图可以了解到,耳朵清洁器的外部线条是主要需要保护的部分。内部的小零件由于其设计较为简单且容易进行变更,因而采用虚线表示,这表明这些部分不主张保护,从而最大限度地集中保护主要外观设计。使用阴影线的方式增添了产品的立体感,这样的设计策略有效地强调了产品的关键特征,同时降低了被模仿的风险。

03
外观专利图纸的格式要求


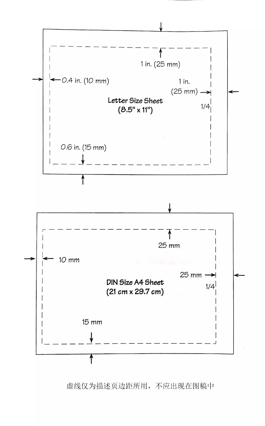
在这里也跟大家介绍下图纸格式,美国外观专利图纸的格式一般分为两种:Letter以及A4纸大小,四周区域需要留白,如下图:

图片



除纸张需保持洁净外,可根据产品设计进行纵向或横向排版,方便对宽度产品的展示,具体留白可参考下图:

图片



图纸而对于页码位置相对灵活,取决于产品图纸所占区域位置,具体可参考下图:

图片



当然,图纸对于字号的大小也有相应要求,具体参考标准如下图:

图片



美国外观设计专利的申请流程相对复杂,成功申请的关键之一是在准备专利图纸方面下足功夫。除此之外,寻求专业机构的协助显得尤为重要。而乐鱼跨境拥有一支专业本土律师团队,商标专利申请经验十分丰富,能够为卖家提供全面的支持和指导如果您有美国外观专利需求或疑问,欢迎您联系我们~


热门文章
- 售前咨询微信 -
- 乐鱼跨境公众号 -
电话
邮箱
199-2682-3401
info@lecero.cn
全球VAT
跨境平台入驻
友情链接:
易麦鸥
深    圳:广东省深圳市龙岗区星河WORLD B栋2806
莱比锡:Bürogebäude Prager Str. 60, 04317 Leipzig
伦    敦:168B RANDOLPH AVENUE MAIDA VALE,  LONDON, UNITED KINGDOM
厦    门:厦门市思明区湖滨南路立信广场1808
EPR合规
商标专利
欧盟定制
关于我们